随车吊和汽车吊哪个更挣钱
来源:徐州昊意工程机械科技有限公司
时间:2018-08-27
访问量:4129
随车吊是指带有起重设备的货车。因为起重机俗称“吊”,而这种吊是在货车上面安装的,所以叫随车吊,学名“随车起重机”。
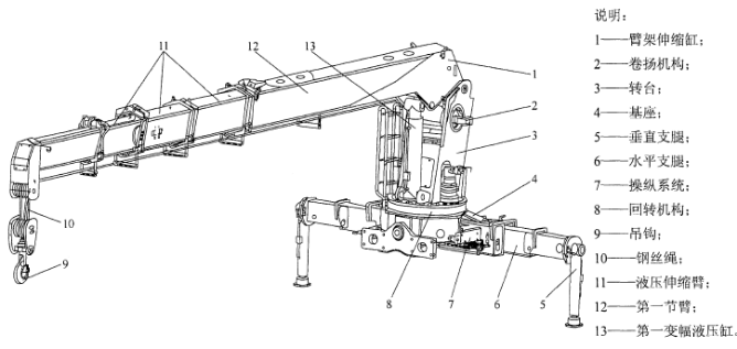
图:随车吊
汽车吊是我们普通意义上说的吊车。吨位比较大,只能用于吊装,不能运输货物。因它的起重系统是安装在汽车上面的,所以叫汽车吊,学名叫“汽车起重机”。

图:汽车吊
有的用户是出租车辆有的是自己使用,只有能够接到活,都赚钱的,看看你能够联系到什么活,需要起重,臂要求比较长的就买吊车,需要起重带运输就买随车吊。
如果您现在正想去购买,建议您从接下来的这几个角度,看怎么选择随车吊和汽车吊。
随车吊是随车起重机和底盘组合在一起的一种运输车辆。是由起重臂、转台、回转机构、支腿等部分组成。通过变幅、伸缩、回转、卷扬等机构的动作来实现随车吊的机械动作,通过不同动作的组合实现起重作业。
汽车起重机是装在普通汽车底盘上的一种起重机,其行驶驾驶室与起重操纵室分开设置。这种起重机的优点是机动性好,转移迅速。
随车吊和汽车吊两者相比,
1.应用范围不同
汽车吊主要用于工程建设,随车吊除了工程建设、还用于市政绿化、电信、电力、工厂、车站、港口、仓库、建筑工地等狭窄场所作业;
2. 功能不同
汽车吊:只能单独的吊装,臂都比较长,在工业和民用建筑工程中作为主要施工机械而得到广泛应用。随车吊:除了能够吊装外,还能够对货物运输,安装抓具,自卸等,多功能随车吊,做到了一车多用。
3.作业环境不同
随车吊能在宽阔的场地起吊,折臂式随车吊还可以在仓库,码头等比较狭窄的场所起吊作业,汽车吊受地形的限制,适用于比较宽阔平整的场地作业;
4.价格
随车吊产品吨位小、汽车吊产品吨位大。节约成本上,随车吊由于具有一车多用的功能,既提高了效率,也节约了劳动力,从而降低了成本,汽车吊的成本相对于随车吊来说,不管是使用费用还是维护费用都要高。
总的来说,随车吊和汽车吊各有优势与特点,分别适合不同的作业状况,用户要根据自身的需求进行选择,至于哪个更挣钱,可以了解上面的对比再进行选择。